文/北京集佳知識產權代理有限公司 張春水
一、案情
本案涉及申請日為2015年12月3日、發明名稱為“具有摩擦裝置的組件”的發明專利申請(以下稱為本申請),優先權日為2014年12月15日和2015年9月9日。
在實審階段,國家知識產權局的實質審查部門以本申請權利要求1-11不符合專利法第22條第3款的規定為由,于2019年8月14日發出了駁回決定,駁回了本申請。駁回決定引用對比文件如下:JP特開2008101740A(下稱對比文件1),公開日為2008年5月1日;US4763764A(下稱對比文件2),公告日為1988年8月16日。
申請人(下稱復審請求人)對上述駁回決定不服,于2019年11月29日向國家知識產權局提出了復審請求,并提交了權利要求書的修改替換頁,將權利要求1-11修改為原始權利要求1-11。獨立權利要求1為:
“一種具有傳遞轉矩的輸入元件并且具有傳遞轉矩或線性力的輸出元件的組件,尤其用于操作車輛的離合器,所述輸入元件優選為轉子、螺桿等,所述輸出元件例如為螺桿或螺桿螺母等,其中所述輸入元件和所述輸出元件彼此耦聯,并且其中所述組件至少是變速器的和/或致動器的組成部分,其中轉矩經由轉矩路徑從所述輸入元件傳遞至所述輸出元件,
其特征在于,并聯于轉矩路徑設置有摩擦裝置,所述摩擦裝置在輸入元件和輸出元件之間產生附加摩擦,其中根據所述輸入元件和/或輸出元件的轉動方向產生所述附加摩擦。”
合議組于2021年5月27日向復審請求人發出復審通知書,通知書中沿用駁回決定中引用的對比文件1和對比文件2。復審通知書中指出:對于獨立權利要求1中“輸入元件為轉子”的技術方案,已經被對比文件2公開,并且屬于相同的技術領域,可以解決相同的技術問題,且能產生相同的技術效果,因此權利要求1不具備專利法第22條第2款新穎性。對于其他多個并列技術方案,與對比文件2的區別技術特征僅在于具體用途和轉矩傳遞元件的具體選擇。但是,這些區別技術特征均屬于本領域的常規技術手段。因此獨立權利要求1相對于對比文件2與本領域常規技術手段的結合不具備專利法第22條第3款規定的創造性。
針對該復審通知書,復審請求人于2021年7月6日提交了意見陳述書和經過修改的權利要求書,其中,根據說明書第19段的內容,對權利要求1進行了具體限定,修改后的獨立權利要求1如下:
“1.一種具有傳遞轉矩的輸入元件并且具有傳遞轉矩或線性力的輸出元件的組件,尤其用于操作車輛的離合器,所述輸入元件優選為轉子、螺桿等,所述輸出元件例如為螺桿或螺桿螺母等,其中所述輸入元件和所述輸出元件彼此機械地和/或磁性地耦聯,并且其中所述組件至少是變速器的和/或致動器的組成部分,其中轉矩經由轉矩路徑從所述輸入元件傳遞至所述輸出元件,
其特征在于,并聯于轉矩路徑設置有摩擦裝置,所述摩擦裝置在輸入元件和輸出元件之間產生附加摩擦,其中根據所述輸入元件和/或輸出元件的轉動方向產生所述附加摩擦。”
復審請求人認為:基于修改后的權利要求1的技術方案,可以明確得出:源于輸入元件和輸出元件彼此耦聯所建立的轉矩路徑,摩擦裝置與該轉矩路徑并聯設置,也就是說,即使沒有摩擦裝置存在,輸入元件與輸出元件之間仍然可以進行轉矩傳遞。對于所建立的路徑而言,并聯狀態下有兩條通路,而串聯狀態下,僅有一條通路,基于本申請權利要求1已經限定的并聯情形,摩擦裝置所在的通路相對于另一條通路(即耦聯路徑)可以產生“附加”的效果,而對于串聯狀態而言,只有接合和斷開的可能,將接合狀態下產生的摩擦描述為“附加”摩擦顯然不合情理。而對比文件2的技術方案中,如果沒有第一、第二彈簧123、124,離合器元件120和122之間是不具有耦聯關系的,也沒有其他轉矩路徑,即第一、第二彈簧123、124并非并聯于轉矩路徑,其接合狀態下產生的摩擦也不是附加摩擦。因此,對比文件2沒有公開“并聯于轉矩路徑設置有摩擦裝置,所述摩擦裝置在輸入元件和輸出元件之間產生附加摩擦,其中根據所述輸入元件和/或輸出元件的轉動方向產生所述附加摩擦”,本申請修改后的權利要求1-11具備新穎性和創造性。

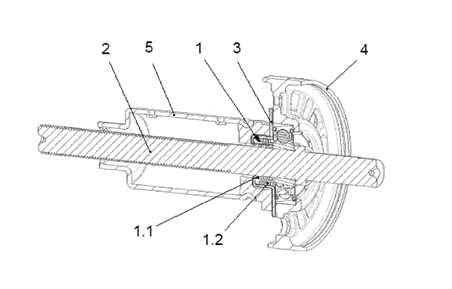
本申請附圖
1-環狀彈簧元件;1.1-內部的作用區域;1.2-外部的作用區域;2-軸;3-轂; 4-軸承架;5-殼體

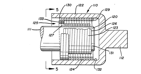
對比文件1的附圖3
123-第一彈簧;124-第二彈簧;120-離合器元件;122-套筒狀離合器元件
合議組接受了復審請求人的提交的權利要求的修改和意見陳述。因此,專利局復審和無效審理部在2021年11月30日作出了撤銷駁回決定的復審決定。
二、專利代理師評析
本案的要點在于,如果一項權利要求請求保護的技術方案與最接近的現有技術相比,存在區別技術特征,且該區別技術特征不是本領域的慣用技術手段的直接置換,則該項權利要求相對于對比文件具備創造性。
如果一項權利要求請求保護的技術方案與最接近的現有技術相比,存在區別技術特征,其它現有技術沒有給出將區別技術特征應用于最接近的現有技術以進一步解決其技術問題的啟示,也沒有證據或者充分的理由表明這些區別技術特征屬于所屬技術領域的公知常識,且該權利要求請求保護的技術方案因此具有有益的技術效果,則該權利要求請求保護的技術方案具有突出的實質性特點和顯著的進步,因而具備創造性。
對比文件公開的技術內容的認定是新穎性和創造性判斷的前提和基礎,對于對比文件公開的技術內容要從對比文件的整體上來把握并且客觀分析。對比文件的整體通常包括背景技術、發明目的、技術方案、具體實施例和技術效果以及上述內容之間的內在聯系??陀^分析是指依據對比文件的內容結合該領域的公知常識進行分析。從復審決定內容可知,本案中復審請求人對對比文件2技術內容的理解與合議組存在很大分歧,然而對比文件2公開的技術內容應當是客觀的,它不會因閱讀者的不同而改變。本案復審請求人通過全面考慮對比文件2公開的技術內容,客觀分析其技術方案,對本申請進行了適當的修改,明確了本申請與對比文件2區別。從而基于區別技術特征,得到本發明的有益的技術效果,從而證明的本申請的新穎性和創造性。